Новые поступленияКнижная полкаФорумРассылка

Кулигин В. А.

Причинность и взаимодействие в физике.

(Из размышлений о религиозной природе русской интеллигенции)

1

Философская категория "причинность", как и связанный с ней принцип причинности, вос-ходит к основополагающему принципу диалектического материализма о всеобщей связи и вза-имной обусловленности явлений материального мира. Содержание категории "причинность" может быть раскрыто через содержание и конкретизацию взаимной связи исходных философ-ских категорий "причина" и "следствие" (причинно-следственное отношение).

Как известно, раскрытие содержания и конкретизация понятий должны опираться на ту или иную конкретную модель взаимной связи понятий. Модель, объективно отражая опреде-ленную сторону связи, имеет границы применимости, за пределами которых ее использование ведет к ложным выводам, но в границах своей применимости она должна обладать не только образностью, наглядностью и конкретностью, но и иметь эвристическую ценность.

Многообразие проявлений причинно-следственных связей в материальном мире обуслови-ло существование нескольких моделей причинно-следственных отношений. Исторически сло-жилось так, что любая модель этих отношений может быть сведена к одному из двух основных типов моделей или их сочетанию.

а) Модели, опирающиеся на временной подход (эволюционные модели). Здесь главное внимание акцентируется на временной стороне причинно-следственных отношений. Одно со-бытие - "причина" - порождает другое событие - "следствие", которое во времени отстает от причины (запаздывает). Запаздывание - отличительный признак эволюционного подхода. Причина и следствие взаимообусловлены. Однако ссылка на порождение следствия причиной (генезис), хотя и законна, но привносится в определение причинно-следственной связи как бы со стороны, извне. Она фиксирует внешнюю сторону этой связи, не захватывая глубоко сущно-сти.

Эволюционный подход развивался Ф. Бэконом, Дж. Миллем и др. Крайней полярной точ-кой эволюционного подхода явилась позиция Юма. Юм игнорировал генезис, отрицая

объективный характер причинности, и сводил причинную связь к простой регулярности собы-тий.

б) Модели, опирающиеся на понятие "взаимодействие" (структурные или диалектические модели). Главное внимание здесь уделяется взаимодействию как источнику причинно-следст-венных отношений. В роли причины выступает само взаимодействие. Большое внимание этому подходу уделял Кант, но наиболее четкую форму диалектический подход к причинности приобрел в работах Гегеля. Из современных советских философов этот подход развивал Г. А. Свечников [1], который стремился дать материалистическую трактовку одной из структурных моделей причинно-следственной связи.

Существующие и использующиеся в настоящее время модели различным образом вскры-вают механизм причинно-следственных отношений, что приводит к разногласиям и создает основу для философских дискуссий. Острота обсуждения и полярный характер точек зрения свидетельствуют об их актуальности [2].

Выделим некоторые из дискутируемых проблем.

а) Проблема одновременности причины и следствия. Это основная проблема. Одновремен-ны ли причина и следствие или разделены интервалом времени? Если причина и следствие од-новременны, то почему причина порождает следствие, а не наоборот? Если же причина и след-ствие неодновременны, может ли существовать "чистая" причина, т. е. причина без следствия, которое еще не наступило, и "чистое" следствие, когда действие причины кончилось, а следст-вие еще продолжается? Что происходит в интервале между причиной и следствием, если они разделены во времени, и т. д.?

б) Проблема однозначности причинно-следственных отношений. Порождает ли одна и та же причина одно и то же следствие или же одна причина может порождать любое следствие из нескольких потенциально возможных? Может ли одно и то же следствие быть порожденным любой из нескольких причин?

в) Проблема обратного воздействия следствия на свою причину.

г) Проблема связи причины, повода и условий. Могут ли при определенных обстоятельст-вах причина и условие меняться ролями: причина стать условием, а условие - причиной? Ка-кова объективная взаимосвязь и отличительные признаки причины, повода и условия?

Решение этих проблем зависит от выбранной модели, т. е. в значительной степени от того, какое содержание будет заложено в исходные категории "причина" и "следствие". Дефиници-онный характер многих трудностей проявляется, например, уже в том, что нет единого ответа на вопрос, что следует понимать под "причиной". Одни исследователи под причиной мыслят ма-териальный объект, другие [3]-явление, третьи [4]- изменение состояния, четвертые - взаи-модействие и т. д.

К решению проблемы не ведут попытки выйти за рамки модельного представления и дать общее, универсальное определение причинно-следственной связи. В качестве примера можно привести следующее определение: "Причинность - это такая генетическая связь явлений, в которой одно явление, называемое причиной, при наличии определенных условий неизбежно порождает, вызывает, приводит к жизни другое явление, называемое следствием" [5]. Это опре-деление формально справедливо для большинства моделей, но, не опираясь на модель, оно не может разрешить поставленных проблем (например, проблему одновременности) и потому имеет ограниченную теоретико-познавательную ценность.

Решая упомянутые выше проблемы, большинство авторов стремятся исходить из совре-менной физической картины мира и, как правило, несколько меньше внимания уделяют гносео-логии. Между тем, на наш взгляд, здесь существуют две проблемы, имеющие важное значение: проблема удаления элементов антропоморфизма из понятия причинности и проблема непри-чинных связей в естествознании. Суть первой проблемы в том, что причинность как объектив-ная философская категория должна иметь объективный характер, не зависящий от познающего субъекта и его активности. Суть второй проблемы: признавать ли причинные связи в естество-знании всеобщими и универсальными или считать, что такие связи имеют ограниченный харак-тер и существуют связи непричинного типа, отрицающие причинность и ограничивающие пре-делы применимости принципа причинности? Мы считаем, что принцип причинности имеет все-общий и объективный характер и его применение не знает ограничений.

Итак, два типа моделей, объективно отражая некоторые важные стороны и черты причинно-следственных связей, находятся в известной степени в противоречии, поскольку раз-

личным образом решают проблемы одновременности, однозначности и др., но вместе с тем, объективно отражая некоторые стороны причинно-следственных отношений, они должны нахо-диться во взаимной связи. Наша первая задача - выявить эту связь и уточнить модели.

2

Попытаемся установить границу применимости моделей эволюционного типа. Причинно-следственные цепи, удовлетворяющие эволюционным моделям, как правило, обладают свойст-вом транзитивности [6]. Если событие А есть причина события В (В-следствие А), если, в свою очередь, событие В есть причина события С, то событие А есть причина события С. Если А->В и В->С, то А---> С. Таким способом составляются простейшие причинно-следственные цепи. Событие В может выступать в одном случае причиной, в другом - следствием. Эту за-кономерность отмечал Ф. Энгельс: "... причина и следствие суть представления, которые имеют значение, как таковые, только в применении к данному отдельному случаю: но как только мы будем рассматривать этот отдельный случай в общей связи со всем мировым целым, эти пред-ставления сходятся и переплетаются в представлении универсального взаимодействия, в кото-ром причины и следствия постоянно меняются местами; то, что здесь или теперь является при-чиной, становится там или тогда следствием и наоборот" (т. 20, с. 22).

Свойство транзитивности позволяет провести детальный анализ причинной цепи. Он со-стоит в расчленении конечной цепи на более простые причинно-следственные звенья. Если А->- то А-->В1, В1-->В2,..., Вn -->C. Но обладает ли конечная причинно-следственная цепь свойством бесконечной делимости? Может ли число звеньев конечной цепи N стремиться к бесконечно-сти?

Опираясь на закон перехода количественных изменений в качественные, можно утвер-ждать, что при расчленении конечной причинно-следственной цепи мы столкнемся с таким со-держанием отдельных звеньев цепи, когда дальнейшее деление станет бессмысленным. Заме-тим, что бесконечную делимость, отрицающую закон перехода количественных изменений в качественные, Гегель именовал "дурной бесконечностью" .

В приведенном выше высказывании Ф. Энгельса отчетливо прослеживается мысль о том, что в основе причинно-следственных связей лежит не самопроизвольное волеизъявление, не прихоть случая и не божественный перст, а универсальное взаимодействие. В природе нет са-мопроизвольного возникновения и уничтожения движения, есть взаимные переходы одних форм движения материи в другие, от одних материальных объектов к другим, и эти переходы не могут происходить иначе, чем через посредство взаимодействия материальных объектов. Такие переходы, обусловленные вза-имодействием, порождают новые явления, изменяя состояние взаимодействующих объектов.

Взаимодействие универсально и составляет основу причинности. Как справедливо от-мечал Гегель, "взаимодействие есть причинное отношение, положенное в его полном развитии" [7]. Еще более четко сформулировал эту мысль Ф. Энгельс: "Взаимодействие - вот первое, что выступает перед нами, когда мы рассматриваем движущуюся материю в целом с точки, зрения теперешнего естествознания <...> Так естествознанием подтверждается то ... что взаимодейст-вие является истинной causa finalis вещей. Мы не можем пойти дальше познания этого взаимо-действия именно потому, что позади его нечего больше познавать" (т. 20, с. 546).

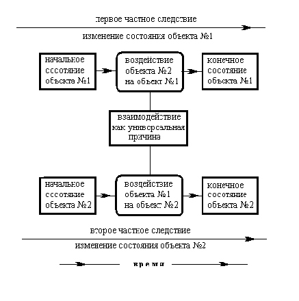
Поскольку взаимодействие составляет основу причинности, рассмотрим взаимодействие двух материальных объектов, схема которого приведена на рис. 1. Данный пример не нарушает общ-ности рассуждений, поскольку взаимодействие нескольких объектов сводится к парным взаи-модействиям и может быть рассмотрено аналогичным способом.

Нетрудно видеть, что при взаимодействии оба объекта одновременно воздействуют друг на друга (взаимность действия). При этом происходит изменение состояния каждого из .взаимодействующих объектов. Нет взаимодействия - нет изменения состояния [8]. Поэтому изменение состояния какого-либо одного из взаимодействующих объектов можно рассматри-вать как частное следствие причины - взаимодействия. Изменение состояний всех объектов в их совокупности составит полное следствие.

Очевидно, что такая причинно-следственная модель элементарного звена эволюцион-ной модели принадлежит классу структурных (диалектических). Следует подчеркнуть, что дан-ная модель не сводится к подходу, развивавшемуся Г. А. Свечниковым, поскольку под следст-вием Г. А. Свечников, по словам В. Г. Иванова, понимал "...изменение одного или всех взаимо-действовавших объектов или изменение характера самого взаимодействия, вплоть до его распада или преобразования" [9]. Что касается изменения состояний, то это изменение Г. А. Свечников относил к непричинному виду связи.

Итак, мы установили, что эволюционные модели в качестве элементарного, первичного звена содержат структурную (диалектическую) модель, опирающуюся на взаимодействие и из-менение состояний. Несколько позже мы вернемся к анализу взаимной связи, этих моделей и исследованию свойств эволюционной модели. Здесь нам хотелось бы отметить, что в полном соответствии с точкой зрения Ф. Энгельса смена явлений в эволюционных моделях, отражаю-щих объективную реальность, происходит не в силу простой регулярности событий (как у Д. Юма), а в силу обусловленности, порожденной взаимодействием (генезис). Поэтому хотя ссылки на порождение (генезис) и привносятся 'в определение причинно-следст-венных отношений в эволюционных моделях, но они отражают объективную природу этих от-ношений и имеют законное основание.

Pис. 2. Структурная (диалектическая) модель причинности

Вернемся к структурной модели. По своей структуре и смыслу она превосходно согласу-ется с первым законом диалектики - законом единства и борьбы противоположностей, если интерпретировать:

- единство - как существование объектов в их взаимной связи (взаимодействии);

- противоположности - как взаимоисключающие тенденции и характеристики состоя-ний, обусловленные взаимодействием;

- борьбу - как взаимодействие;

- развитие - как изменение состояния каждого из взаимодействующих материальных объектов.

Поэтому структурная модель, опирающаяся на взаимодействие как причину, может быть названа также диалектической моделью причинности. Из аналогии структурной модели и пер-вого закона диалектики следует, что причинность выступает как отражение объективных диа-лектических противоречий в самой природе, в отличие от субъективных диалектических проти-воречий, возникающих в сознании человека. Структурная модель причинности есть отражение объективной диалектики природы.

Рассмотрим пример, иллюстрирующий применение структурной модели причинно-следст-венных отношений. Таких примеров, которые объясняются с помощью данной модели, можно найти достаточно много в естественных науках (физике, химии и др.), поскольку понятие "взаимодействие" является основополагающим в естествознании.

Возьмем в качестве примера упругое столкновение двух шаров: движущегося шара А и не-подвижного шара В. До столкновения состояние каждого из шаров определялось совокупно-стью признаков Сa и Сb (импульс, кинетическая энергия и т. д.). После столкновения (взаимо-действия) состояния этих шаров изменились. Обозначим новые состояния С'a и С'b. Причиной изменения состояний (СaаС'a и Сb аС'b) явилось взаимодействие шаров (столкновение); следст-вием этого столкновения стало изменение состояния каждого шара.

Как уже говорилось, эволюционная модель в данном случае малопригодна, поскольку мы имеем дело не с причинной цепью, а с элементарным причинно-следственным звеном, структура кото-рого не сводится к эволюционной модели. Чтобы показать это, проиллюстрируем данный при-мер объяснением с позиции эволюционной модели: "До столкновения шар А покоился, поэтому причиной его движения является шар В, который ударил по нему". Здесь шар В выступает при-чиной, а движение шара А - следствием. Но с тех же самых позиций можно дать и такое объ-яснение: "До столкновения шар В двигался равномерно по прямолинейной траектории. Если бы не шар А, то характер движения шара В не изменился бы". Здесь причиной уже выступает шар А, а следствием - состояние шара В. Приведенный пример показывает:

а) определенную субъективность, которая возникает при применении эволюционной мо-дели за пределами границ ее применимости: причиной может выступать либо шар А, либо шар В; такое положение связано с тем, что эволюционная модель выхватывает одну частную ветвь следствия и ограничивается ее интерпретацией;

б) типичную гносеологическую ошибку. В приведенных выше объяснениях с позиции эво-люционной модели один из однотипных материальных объектов выступает в качестве "актив-ного", а другой - в качестве "страдательного" начала. Получается так, будто один из шаров наделен (по сравнению с другим) "активностью", "волей", "желанием", подобно человеку. Сле-довательно, только благодаря этой "воле" мы и имеем причинное отношение. Подобная гносео-логическая ошибка определяется не только моделью причинности, но и образностью, присущей живой человеческой речи, и типичным психологическим переносом свойств, характерных для сложной причинности (о ней мы будем говорить ниже) на простое причинно-следственное звено. И такие ошибки весьма характерны при использовании эволюционной модели за преде-лами границ ее применимости. Они встречаются в некоторых определениях причинности. На-пример: "Итак, причинность определяется как такое воздействие одного объекта на другой, при котором изменение первого объекта (причина) предшествует изменению другого объекта и необходимым, однозначным образом порождает изменение другого объекта (следствие)" [10]. Трудно согласиться с таким определением, поскольку совершенно не ясно, почему при взаимо-действии (взаимном действии!) объекты должны деформироваться не одновременно, а друг за другом? Какой из объектов должен деформироваться первым, а какой вторым (проблема при-оритета)?

3

Рассмотрим теперь, какие качества удерживает в себе структурная модель причинности. Отметим среди них следующие: объективность, универсальность, непротиворечивость, одно-значность.

Объективность причинности проявляется в том, что взаимодействие выступает как объек-тивная причина, по отношению к которой взаимодействующие объекты являются равноправ-ными. Здесь не остается возможности для антропоморфного истолкования. Универсальность обусловлена тем, что в основе причинности всегда лежит взаимодействие. Причинность универ-сальна, как универсально само взаимодействие. Непротиворечивость обусловлена тем, что, хотя причина и следствие (взаимодействие и изменение состояний) совпадают во времени, они отра-жают различные стороны причинно-следственных отношений. Взаимодействие предполагает пространственную связь объектов, изменение состояния - связь состояний каждого из взаимо-действующих объектов во времени.

Помимо этого структурная модель устанавливает однозначную связь в причинно-следст-венных отношениях независимо от способа математического описания взаимодействия. Более того, структурная модель, будучи объективной и универсальной, не предписывает естествозна-нию ограничений на характер взаимодействий. В рамках данной модели справедливы и мгно-венное дально- или близкодействие, и взаимодействие с любыми конечными скоростями. Появ-ление подобного ограничения в определении причинно-следственных отношений явилось бы типичной метафизической догмой, раз и навсегда постулирующей характер взаимодействия любых систем, навязывая физике и другим наукам натурфилософские рамки со стороны фило-софии, либо ограничило пределы применимости модели настолько, что польза от такой модели оказалась бы весьма скромной.

Здесь уместно было бы остановиться на вопросах, связанных с конечностью скорости рас-пространения взаимодействий. Рассмотрим пример. Пусть имеются два неподвижных заряда. Если один из зарядов начал двигаться с ускорением, то электромагнитная волна подойдет ко второму заряду с запаздыванием. Не противоречит ли данный пример структурной модели и, в частности, свойству взаимности действия, поскольку при таком взаимодействии заряды оказы-ваются в неравноправном положении? Нет, не противоречит. Данный пример описывает не про-стое взаимодействие, а сложную причинную цепь, в которой можно выделить три различных звена.

1. Взаимодействие первого заряда с объектом, который вызывает его ускорение. Результат этого взаимодействия - изменение состояния источника, воздействовавшего на заряд, и в част-ности потеря этим источником части энергии, изменение состояния первого заряда (ускорение) и появление электромагнитной волны, которая излучилась первым зарядом при его ускоренном движении.

2. Процесс распространения электромагнитной волны, излученной первым зарядом.

3. Процесс взаимодействия второго заряда с электромагнитной волной. Результат взаимо-действия - ускорение второго заряда, рассеяние первичной электромагнитной волны и излуче-ние электромагнитной волны вторым зарядом.

В данном примере мы имеем два различных взаимодействия, каждое из которых укладыва-ется в структурную модель причинности. Таким образом, структурная модель превосходно со-гласуется как с классическими, так и с релятивистскими теориями, а конечная скорость распро-странения взаимодействий не является принципиально необходимой для структурной модели причинности.

Касаясь структурной модели причинности, отметим, что ей не противоречат реакции рас-пада и. синтеза объектов. В этом случае между объектами либо разрушается относительно ус-тойчивая связь как особый вид взаимодействия, либо такая связь образуется в результате взаи-модействия.

Поскольку квантовые теории (равно как и классические) широко используют категории "взаимодействие" и "состояние", то структурная модель принципиально применима и в этой области естествознания. Встречающиеся иногда трудности обусловлены, на наш взгляд, тем, что, обладая хорошо развитым математическим формализмом, квантовые теории еще недоста-точно полно развиты и отточены в плане понятийной интерпретации . Это одно из свидетельств того, что квантовые теории находятся в стадии становления и развития и не достигли уровня внутренней завершенности, свойственной классическим теориям.

Но о проблемах становления квантовых теорий свидетельствует не только интерпретация y-функции. Хотя релятивистская механика и электродинамика на первый взгляд представля-ются законченными теориями, более глубокий анализ показывает, что по ряду причин эти тео-рии также не избежали противоречий и внутренних трудностей. Например, в электродинамике существуют проблема электромагнитной массы, проблема реакции излучения заряда и др. Не-удачи в попытках разрешения этих проблем в рамках самих теорий в прошлом и бурное разви-тие теорий микромира породили надежду, что развитие квантовых теорий поможет ликвидиро-вать трудности. А до тех пор они должны восприниматься как неизбежное "зло", с которым так или иначе приходится мириться и ждать успехов от квантовых теорий.

В то же время квантовые теории сами столкнулись со многими проблемами и противоре-чиями. Любопытно заметить, что часть этих трудностей имеет "классическую" природу, т. е. досталась "по наследству" от классических теорий и обусловлена их внутренней незавершенно-стью. Получается "порочный круг": разрешение противоречий классических теорий мы возла-гаем на квантовые теории, а трудности квантовых определяются противоречиями классических.

Со временем надежда на способность квантовых теорий устранить противоречия и трудно-сти в теориях классических стала угасать, но до сих пор интерес к разрешению противоречий классических теорий в рамках их самих все еще остается на втором плане.

Таким образом, трудности, встречающиеся иногда при объяснении явлений микромира с позиции причинности, имеют объективное происхождение и объясняются особенностями ста-новления квантовых теорий, но они не являются принципиальными, запрещающими или огра-ничивающими применение принципа причинности в микромире, в частности применение структурной модели причинности.

Причинность и взаимодействие всегда взаимосвязаны. Если взаимодействие обладает свойст-вами всеобщности, универсальности и объективности, то столь же универсальны, всеобщи и объективны причинно-следственные связи и отношения. Поэтому в принципе нельзя согла-ситься с утверждениями Бома, что при описании явлений микромира можно в одних случаях опираться на философский индетерминизм,

в других - придерживаться принципа причинности [12]. Мы считаем глубоко ошибочной мысль В. Я. Перминова о том, что "понятие дополнительности указывает путь примирения (курсив наш. - В. К-) детерминизма и индетерминизма" [13], независимо от того, относится эта мысль к философии естествознания или к конкретной естественнонаучной теории. Путь прими-рения материалистической точки зрения с позицией современного агностицизма в данном во-просе есть эклектика, есть отрицание объективной диалектики. В. И. Ленин подчеркивал, что "вопрос о причинности имеет особенно важное значение для определения философской линии того или другого новейшего "изма"..." (т. 18, с. 157). И путь становления квантовых теорий лежит не через отрицание или ограничение, а через утверждение причинности в микромире.

4

Структура научных теорий естествознания и функции научных теорий прямо или косвен-но связаны с причинным объяснением явлений материального мира. Если обратиться к струк-турной модели причинности, то можно выявить два характерных момента, две важные стороны, которые так или иначе связаны с функциями научных теорий.

Первая касается описания при-чинных связей и отвечает на вопрос: как, в какой последовательности? Ей соответствует любая ветвь частного следствия, связываю-щая обусловленные состояния. Она дает не только описание перехода объекта из одного со-стояния в другое, но описывает и охватывает всю причинную цепь как последовательность свя-занных и обусловленных состояний, не вдаваясь глубоко в сущность, в источник изменения состояний звеньев цепи.

Вторая сторона отвечает на вопрос: почему, по какой причине? Она, напротив, дробит при-чинно-следственную цепь на отдельные элементарные звенья и дает объяснение изменении со-стоянии, опираясь на взаимодействие. Это объясняющая сторона.

Две эти стороны прямо связаны с двумя важными функциями научной теории: объясняю-щей и описательной. Поскольку принцип причинности лежал и будет лежать в основе любой естественнонаучной теории, теория всегда будет выполнять эти две функции: описание и объ-яснение [14].

Однако не только в этом проявляется методологическая функция принципа причинности. Внутреннее структурирование самой теории также связано с этим принципом. Возьмем, к при-меру, классическую механику с ее тремя традиционными разделами: кинематикой, динамикой и статикой. В кинематике силовые взаимодействия не рассматриваются, а идет описание (физиче-ское и математическое) видов движения материальных точек и материальных объектов. Взаи-модействие подразумевается, но оно отходит на второй план, оставляя приоритет описанию сложных связанных движений через характеристики их состояний. Разумеется, этот факт не может служить поводом для классификации кинематики как непричинного способа описания, поскольку кинематика отражает эволюционную сторону причинно-следственных отношений, связывающих различные состояния.

Динамика - теоретический раздел, который включает в себя полное причинно-следствен-ное описание и объяснение, опираясь на структурную модель причинно-следственных отноше-ний. В этом смысле кинематика может считаться подразделом динамики.

Особый интерес с точки зрения причинности представляет статика, в которой следствен-ные цепи вырождены (отсутствуют), и мы имеем дело только со связями и взаимодействиями статического характера. В отличие от явлений объективной реальности, где не существует абсо-лютно устойчивых систем, статические задачи - идеализация или предельный случай, допус-тимый в частнонаучных теориях. Но принцип причинности справедлив и здесь, поскольку не только решать статические задачи, но и понять сущность статики без применения "принципа виртуальных перемещений" или родственных ему принципов невозможно. "Виртуальные пере-мещения" непосредственно связаны с изменением состояний в окрестности состояния равнове-сия, т. е. в конечном счете с причинно-следственными отношениями.

Рассмотрим теперь электродинамику. Иногда ее отождествляют только с уравнениями Максвелла. Это неверно, поскольку уравнения Максвелла описывают поведение волн (излуче-ние, распространение, дифракцию и т. д.) при заданных граничных и начальных условиях. Они не включают в себя описание взаимодействия как взаимного действия. Принцип причинности привносится вместе с граничными и начальными условиями (запаздывающие потенциалы). Это своеобразная "кинематика" волновых процессов, если подобное сравнение позволительно. "Ди-намику", а с ней и причинность, вносит уравнение движения Лоренца, учитывающее реакцию излучения заряда. Именно связь уравнений Максвелла и уравнения движения Лоренца обеспе-чивает достаточно полное причинно-следственное описание явлений электромагнетизма. По-добные примеры можно было бы продолжить. Но и приведенных достаточно, чтобы убедиться, что причинность и ее структурная модель находят отражение в структуре и функциях научных теорий.

5. Если в начале нашей работы мы шли от эволюционной модели причинности к структур-ной, то теперь предстоит обратный путь от структурной модели к эволюционной. Это необхо-димо, чтобы правильно оценить взаимную связь и отличительные особенности эволюционной модели.

Уже в неразветвленной линейной причинно-следственной цепи мы вынуждены отказаться от полного описания всех причинно-следственных отношений, т. е. не учитываем некоторые частные следствия. Структурная модель позволяет неразветвленные линейные причинно-след-ственные цепи свести к двум основным типам.

а) Объектная причинная цепь. Образуется тогда, когда мы выделяем какой-либо матери-альный объект и следим за изменением его состояния во времени. Примером могут служить наблюдения за состоянием броуновской частицы, или за эволюциями космического корабля, или за распространением электромагнитной волны от антенны передатчика до антенны прием-ника.

б) Информационная причинная цепь. Появляется, когда мы следим не за состоянием мате-риального объекта, а за некоторым информирующим явлением, которое в процессе вза-имодей-ствий различных материальных объектов связано последовательно во времени с различными объектами. Примером может служить передача устной информации с помощью эстафеты и т. п.

Все линейные неразветвленные причинные цепи сводятся к одному из этих двух типов или к их комбинации. Такие цепи описывают с помощью эволюционной модели причинности. При эволюционном описании взаимодействие остается на втором плане, а на первый план выходит материальный объект или индикатор его состояния. В силу этого главное внимание сосредото-чивается на описании последовательности событий во времени. Поэтому данная модель полу-чила название эволюционной.

Линейная неразветвленная причинная цепь сравнительно легко поддается анализу с помощью сведения ее к совокупности элементарных звеньев и анализа их посредством структурной мо-дели. Но такой анализ не всегда возможен.

Существуют сложные причинные сети, в которых простые причинно-следственные цепочки пересекаются, ветвятся и вновь пересекаются. Это приводит к тому, что применение структур-ной модели делает анализ громоздким, а иногда и технически невозможным.

Помимо этого нас часто интересует не сам внутренний процесс и описание внутренних причинно-следственных отношений, а начальное воздействие и его конечный результат. Подоб-ное положение часто встречается при анализе поведения сложных систем (биологических, ки-бернетических и др.). В таких случаях детализация внутренних процессов во всей их совокуп-ности оказывается избыточной, ненужной для практических целей, загромождающей анализ. Все это обусловило ряд особенностей при описании причинно-следственных отношений с по-мощью эволюционных моделей. Перечислим эти особенности.

1. При эволюционном описании причинно-следственной сети полная причинная сеть ог-рубляется. Выделяются главные цепи, а несущественные отсекаются, игнорируются. Это значи-тельно упрощает описание, но подобное упрощение достигается ценой потери части информа-ции, ценой утраты однозначности описания.

2. Чтобы сохранить однозначность и приблизить описание к объективной реальности, от-сеченные ветви и причинные цепи заменяются совокупностью условий. От того, насколько пра-вильно выделена основная причинная цепь и насколько полно учтены условия, компенсирую-щие огрубление, зависят полнота, однозначность и объективность причинно-следственного описания и анализа.

3. Выбор той или иной причинно-следственной цепи в качестве главной определяется во многом целевыми установками исследователя, т. е. тем, между какими явлениями он хочет про-анализировать связь. Именно целевая установка заставляет выискивать главные причинно-след-ственные цепи, а отсеченные заменять условиями. Это приводит к тому, что при одних установ-ках главную роль выполняют одни цепи, а другие заменяются условиями. При других установ-ках эти цепи могут стать условиями, а роль главных будут играть те, что раньше были второстепенными. Таким образом, причины и условия меняются ролями.

Условия играют важную роль, связывая объективную причину и следствие. При различных условиях, влияющих на главную причинную цепь, следствия будут различными. Условия как бы создают то русло, по которому течет цепь исторических событий или развитие явлений во времени. Поэтому для выявления глубинных, сущностных причинно-следственных отношений необходим тщательный анализ, учет влияния всех внешних и внутренних факторов, всех усло-вий, влияющих на развитие главной причинной цепи, и оценка степени влияния.

4. Эволюционное описание основное внимание уделяет не взаимодействию, а связи собы-тий или явлений во времени. Поэтому содержание понятий "причина" и "следствие" изменяет-ся, и это весьма важно учитывать. Если в структурной модели взаимодействие выступает ис-тинной causa finalis - конечной причиной, то в эволюционной - действующей причиной (causa activa) становится явление или событие.

Следствие также меняет свое содержание. Вместо связи состояний материального объекта при его взаимодействии с другим в качестве следствия выступает некоторое событие или явле-ние, замыкающее причинно-следственную цепь. В силу этого причина в эволюционной модели всегда предшествует следствию.

5. В указанном выше смысле причина и следствие в эволюционной модели могут высту-пать как одно-качественные явления, с двух сторон замыкающие причинно-следственную цепь. Следствие одной цепи может явиться причиной и началом другой цепи, следующей за первой во времени. Это обстоятельство обусловливает свойство транзитивности эволюционных моделей причинности.

Мы здесь коснулись только главных особенностей и отличительных признаков эволюци-онной модели.

5

Структурная модель причинности может успешно использоваться для сравнительно простых причинных цепей и систем. В реальной практике приходится иметь дело и со слож-ными системами. Вопрос о причинно-следственном описании поведения сложных систем прак-тически всегда опирается на эволюционную модель причинности.

Итак, мы рассмотрели два типа моделей, отражающих причинно-следственные отношения в природе, проанализировали взаимную связь этих моделей, границы их применимости и неко-торые особенности. Проявление причинности в природе многообразно и по форме, и по содер-жанию. Вполне вероятно, что этими моделями не исчерпывается весь арсенал форм причинно-следственных отношений. Но как бы ни были разнообразны эти формы, причинность всегда будет обладать свойствами объективности, всеобщности и универсальности. В силу этого прин-цип причинности выполнял и всегда будет выполнять важнейшие мировоззренческие и методо-логические функции в современном естествознании и философии естествознания. Многообра-зие форм проявления причинно-следственных отношений не может служить поводом для отказа от материалистического принципа причинности или утверждений об ограниченной его приме-нимости.

ЛИТЕРАТУРА

1. См., напр.: Свечников Г. А. Причинность и связь состояний в физике. М., 1971; Он же. Диалектико-материалистическая концепция причинности // Современный детерминизм: Законы природы / Под ред. Г. А. Свечникова и др. М., 1973. С. 125, и др.

2. См., напр.: Тюхтин В. С. Отражение, системы, кибернетика. М., 1972; Уемов А. И., Оста-пенко С. В. Причинность и время // Современный детерминизм: Законы природы. С. 214; Оруд-жев 3. М., Ахундов М. Д. Временная структура причинной связи // Филос. науки. 1969. № 6. С. 63; Жаров А. М. Временное соотношение причины и следствия и неопределенность // Там же. 1984. № 3. С. 89.

3. Кузнецов И. В. Избранные труды по методологии физики. М., 1. 975.

4. Материалистическая диалектика: В 5 т. Т. 1: Объективная диалектика / Под общ. ред. Ф. В. Константинова и В. Г. Марахова; Отв. ред. Ф. Ф. Вяккерев. М., 1981. С. 212.

5. Кузнецов И. В. Указ. соч. С. 237.

6. О парадоксах "нетранзитивности" см.: Налетов Н. 3. Причинность и теория познания. М., 1975.

7. Гегель Г. В. Ф. Энциклопедия философских наук: В 3 т. Т. 1: Наука логики. М., 1974. С. 335.

8. Под термином "состояние" мы понимаем количественную и качественную определен-ность самодвижения объекта. Другие определения см.: Старжинский В. П. Понятие "состояние" и его методологическая роль в физике. Минск, 1979.

9. Иванов В. Г. Причинность и детерминизм. Л., 1974.

10. Материалистическая диалектика. Т. 1. С. 213.

11. Бунге М. Философия физики. М., 1975. С. 99.

12. Бом Д. Причинность и случайность в современной физике. М., 1959.

13. Перминов В. Я. Проблема причинности в философии и ес-тествознании. М., 1979. С. 209.

14. См., напр.: Никитин Е. П. Объяснение - функция науки. М., 1970.

В А. Кулигин. Причинность и взаимодействие в физике. В сборнике Воронежского госуниверситета: "Детерминизм в современной науке. Воронеж, 1987".


Наверх


TopList
© 2000 SuM